聯系方式 |
| 電話(市場部):0517-86851868 |
0517-86882048
0517-86881908 |
| (拓展部):0517-86882683 |
| 傳真:0517-86851869 |
節假日商務聯系電話:
何經理:13655238295
紀經理:18015196880 |
| 郵編:211600 |
| 網址:http://m.ourot.com/ |
| http://www.sukeyb.com/ |
| E-mail:china-suke@163.com |
| sukeyb@163.com |
地址:江蘇省金湖縣工業園區環城西
路269號 |
|
|
SKLUW型衛生型渦街流量計
防爆合格證編號:CNEx23.2893X
|
SKLUW型衛生型渦街流量計主要用于工業管道介質流體的流量測量,其特點是壓力損失小,量程范圍大,精度高,廣泛適用于食品、化工等行業對壓縮空氣和一般氣體(氧氣、氮氣、氫氣、天然氣、煤氣等) 、水和液體的計量和控制.
一、衛生型渦街流量計工作原理
在流體中設置非流線型旋渦發生體(阻流體),則從旋渦發生體兩側交替地產生兩列有規則的旋渦,這種旋渦稱為卡曼渦街,如圖1所示。
旋渦列在旋渦發生體下游非對稱地排列。設旋渦的發生頻率為f,被測介質來流的平均速度為V,旋渦發生體迎流面寬度為d,表體通徑為D,根據卡曼渦街原理,有如下關系式:
f=StV/d (1)
式中:
f-發生體一側產生的卡門旋渦頻率
St-斯特羅哈爾數(無量綱數)
V-流體的平均流速
d-旋渦發生體的寬度
由此可見,通過測量卡門渦街分離頻率便可算出瞬時流量。其中,斯特羅哈爾數(St)是無因次未知數,圖2表示斯特羅哈爾數(St)與雷諾數(Re)的關系。
在曲線表中St=0.17的平直部分,漩渦的釋放頻率與流速成正比,即為渦街流量傳感器測量范圍度。只要檢測出頻率f就可以求得管內流體的流速,由流速V求出體積流量。所測得的脈沖數與體積量之比,稱為儀表常數(K),見式(2)
K=N/Q(1/m³) (2)
式中:K=儀表常數(1/m³)。
N=脈沖個數
Q=體積流量(m³)
二、衛生型渦街流量計主要技術指標
表1
| 公稱通徑(mm) |
15,20,25,32,40,50,65,80,100 |
公稱壓力(MPa) |
DN15-DN100 PN1.0 |
介質溫度(℃) |
常溫 |
本體材料 |
304、316L |
允許振動加速度 |
壓電式:0.2g 電容式:1.0~2.0g |
精確度 |
±1.0% FS,±1.5%FS,±2.5%FS |
范圍度 |
1:6~1:10 |
供電電壓 |
傳感器:+12V DC,+24V DC;變送器:+12VDC,+24V DC;電池供電型:3.6V電池 |
輸出信號 |
方波脈沖(不包括電池供電型):高電平≥5V,低電平≤1V;電流:4~20mA |
壓力損失系數 |
符合JB/T9249標準 Cd≤2.4 |
防爆標志 |
隔爆型:EXdbIICT6Gb |
防護等級 |
普通型IP65 |
環境條件 |
溫度-20℃~55℃,相對濕度5%~90%,大氣壓力86~106kPa |
適用介質 |
氣體、液體 |
傳輸距離 |
三線制脈沖輸出型:≤300m,兩線制標準電流輸出型 (4~20mA):負載電阻≤750Ω |
表2 參比條件下衛生型渦街流量計工況流量范圍表:
儀表口徑
(mm) |
液體 |
氣體 |
測量范圍(m3/h) |
測量范圍(m3/h) |
15 |
0.4~4 |
3.0~12 |
20 |
0.8~8 |
6~30 |
25 |
1.2~12 |
9.0~55 |
32 |
2.0~20 |
12~120 |
40 |
3.0~30 |
20~200 |
50 |
5.0~50 |
30~300 |
65 |
8.0~80 |
50~500 |
80 |
12~120 |
80~800 |
100 |
20~200 |
120~1200 |
表3衛生型渦街流量計本體外形尺寸:
| 口徑DN(mm) |
R |
DN(mm) |
卡盤外徑D(mm) |
表體長度(mm)不帶補償/帶補償 |
15 |
φ19 |
15 |
φ50.5 |
110/130 |
20 |
φ25 |
20 |
φ50.5 |
110/130 |
25 |
φ32 |
25 |
φ50.5 |
110/130 |
32 |
φ38 |
32 |
φ50.5 |
110/130 |
40 |
φ45 |
40 |
φ64 |
110/130 |
50(非標) |
φ51 |
47.5 |
φ64 |
110/130 |
50 |
φ57 |
50 |
φ77.5 |
110/130 |
65 |
φ76 |
65 |
φ91 |
110/130 |
80 |
φ89 |
85 |
φ106 |
110/130 |
100 |
φ108 |
104 |
φ119 |
110/130 |
三、衛生型渦街流量計產品選型:
| 型號 |
口徑 |
代號及功能 |
SKLUW |
DN15~DN100 |
|
|
|
代號 |
功能1 |
N |
無溫壓補償 |
Y |
有溫壓補償 |
|
代號 |
輸出信號 |
F1 |
4-20mA輸出(二線制) |
F2 |
脈沖 |
F3 |
RS485通訊接口 |
F4 |
HART協議 |
|
代號 |
被測介質 |
J1 |
液體 |
J2 |
氣體 |
|
代號 |
功能2 |
E1 |
1.0級(適用于液體) |
E2 |
1.5級 |
E3 |
2.5級(DN15 DN20) |
|
T1 |
常溫 |
|
P1.0 |
1.0MPa |
|
D1 |
內部3.6V供電(不帶輸出) |
D2 |
DC24V供電 |
|
B |
不銹鋼(本體材質304) |
BF |
不銹鋼(本體材質316) |
訂貨須知
尊敬的用戶,當您要選用本公司產品時,請并做好以下工作:
1.認真核對被測介質的工況條件:溫度、壓力、管徑等工藝參數。
2.認真核對被測介質的使用流量范圍,特別是最小流量值以最終確定使用儀表的口徑及配管參數。
3.確定儀表的安裝地點,保證直管段,并為儀表的安裝維護創造好的環境條件。
四、衛生型渦街流量計安裝要求
儀表的正確安裝是保障儀表正常運行的重要環節,若安裝不當,輕則影響儀表的使用精度,重則會影響儀表的使用壽命,甚至會損壞儀表。
A、安裝環境要求:
1.盡可能避開強電設備、高頻設備、強開關電源設備。儀表的供電電源盡可能與這些設備分離。
2.避開高溫熱源和輻射源的直接影響。若必須安裝,須有隔熱通風措施。
3.避開高濕環境和強腐蝕氣體環境。若必須安裝,須有通風措施。
4.渦街流量儀表應盡量避免安裝在振動較強的管道上。若必須安裝,須在其上下游2D處加設管道緊固裝置,并加防振墊,加強抗振效果。
5.儀表最好安裝在室內,安裝在室外應注意防水,特別注意在電氣接口處應將電纜線彎成U形,避免水順著電纜線進入放大器殼內。
6.儀表安裝點周圍應該留有較充裕的空間,以便安裝接線和定期維護。
B、儀表管道安裝要求:
1.渦街流量儀表對安裝點的上下游直管段有一定要求,否則會影響介質在管道中的流場,影響儀表的測量精度。儀表的上下游直管段長度要求見圖3
DN為儀表工稱口徑
單位:mm
傳感器上游
管道型式 |
前后直管段長度 |
傳感器上游
管道型式 |
前后直管段長度 |
同心收縮
全開閥門 |
|
一個90度
彎頭 |
|
同一平面兩
個90度彎頭 |
|
不同平面兩
個90度彎頭 |
|
同心擴管 |
|
調節閥半開
閥門(不推薦) |
|
注:調節閥盡可能不安裝在渦街流量儀表的上游,而應安裝在渦街流量儀表的下游10D處。
1.上、下游配管內徑應相同。如有差異,則配管內徑Dp與渦街儀表表體內徑Db,應滿足以下關系
0.98Db≤Dp≤1.05Db
上、下游配管應與流量儀表表體內徑同心,它們之間的不同軸度應小于0.05Db
2.儀表與法蘭之間的密封墊,在安裝時不能凸入管內,其內徑應比表體內徑大1-2mm
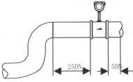
a)測壓孔和測溫孔的安裝設計。被測管道需要安裝溫度和壓力變送器時,測壓孔應設置在下游3-5D處,測溫孔應設置在下游6-8D處,見圖(七)。D為儀表工稱口徑,單位:mm
b)儀表在在管道上可以水平、垂直或傾斜安裝。
c)測量氣體時,在垂直管道安裝儀表,氣體流向不限。但若管道內含少量液體,為了防止液體進入儀表測量管,氣流應自下而上流動,如圖4a所示
d)測量液體時,為了保證管內充滿液體,所以在垂直或傾斜管道安裝儀表時,應該保證液體流動方向從下而上。若管道內含少量氣體,為了防止氣體進入儀表測量管,儀表應安裝在管線的較低處如圖4b所示

五、壓力變送器和Pt100安裝位置示意圖
|
|